财经大本营

【推荐】中国建材深度跟踪:合并后首份财报,为何市场不买账?-中国建材负债率是多少

John 0

作者/@麻瓜交易员

数据支持/华盛证券

中国建材上周五交出了合并后的第一份财报,营收952.28亿元,同比增长22.0%;权益持有者应占利润为人民币38.12亿元,同比增长159.8%,实际上超出了Bloomberg一致预期,以至于财报后18年的盈利预期又被再度上调。

资料来源:Bloomberg,华盛证券

但这周来3323的股价表现却是跑输大市,投资者为何失望?中国建材的投资逻辑是否发生改变?下面将从三个方面展开讨论,分别是负债率、弹性以及盈利能力:

一、压制估值的高负债率是否正在降低?

远高于行业的负债水平是压制中国建材估值的关键。

2018H1中国建材的财务费用54.6亿元,同比增长3.2%。长债664.2亿元,同比增长8.7%,短债1508.2亿元,同比增长1.8%。债务合计2172亿元,现金260亿元,也就是净债务1912亿元,而现在市值约为575亿元(按股价7.85HKD和0.868汇率计)。这里重点关注下净负债率指标,具体分两种情况看:

1、合并后口径

中国建材净负债率仅从2017H1的149%下降到2018H1的148.1%,并没有明显下降。

资料来源:财报,华盛证券

2、按非合并口径

中国建材的净负债率则是从2016年的262%下降到2017年的221%,再下降到目前的148.1%,已经明显改善。

所以,初步结论是合并确实大幅改善了中国建材的负债率,但是中国建材内生性减杠杆的动作不明显。这也是财报后中国建材股价连续回调的主要原因。不过随着管理层在业绩会上释放信息发酵,新的预期或将形成。

管理层表示希望在2018年削减100亿元人民币的债务,对于降杠杆的举措有以下四点:

(1)计划发行永久债券,公司有130亿额度,上半年的利息成本仅为4.05%;

(2)债转股 - 上半年这一进展放缓,但将在下半年继续努力,互换主要发生在子公司层面;

(3)公司将继续保持盈利能力;

(4)资本支出管理 - 2018年经营现金流量应高于300亿,上半年公司的资本支出同比增加19亿(主要是收购西南地区的小型工厂); 希望将资本支出限制在人民币200亿元以下。

这里面比较负面的是资本支出,之前给的指引为150亿元,大行给的预期也都在80亿元~130亿元,所以200亿有些超预期。100亿元人民币的债务削减目标相较于净债务规模看似杯水车薪,但是仔细算一下的话,在不考虑债转股的情况下即能将净负债率下降到140%以下,个人认为还是可以接受的。

二、中国建材是否仍是水泥行业的高弹性标的首选?

在行业向上确定性较高的景气期,选择拥有高杠杆的公司可以博取最大化收益。中国建材拥有最高的财务杠杆这点毋庸置疑,但是2018H1同比归母159.8%的增速相较于海螺、华润来说并不够优秀——海螺水泥2018H1的净利润同比增速为92.7%,而华润水泥则为145.5%。问题出在哪?

首先,财报中有12.1亿元的按公允价值确认的金融资产损失(去年同期为5000万元),若将这部分影响剔除,调整后归母净利润达到45亿元,同比增速可以上升到211.4%,数字好看了一些,但是差距并不大,原因其实还是出在了经营杠杆上。

资料来源:财报,华盛证券

对一家公司而言,它的杠杆可以拆解为两部分——经营杠杆和财务杠杆。过往我们或许过于重视中国建材的财务杠杆,而忽视海螺和华润在经营杠杆上的优势。根据Bloomberg数据,中国建材虽然在财务杠杆上高于海螺和华润,但是在经营杠杆上则低于海螺和华润。

资料来源:Bloomberg,华盛证券

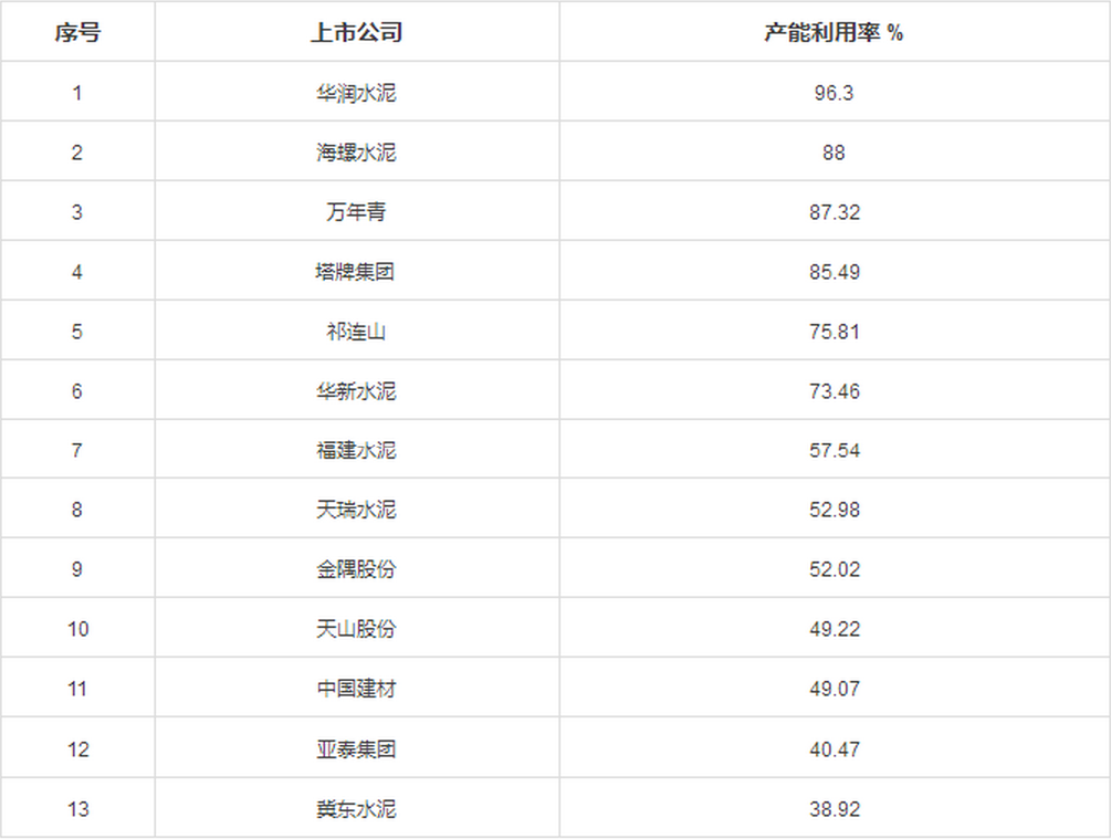
经营杠杆越大意味着每单位销量所背负的固定成本越小。中国建材、海螺以及华润在经营杠杆的差异实际上是来自于他们产能利用率上的区别:根据2017年报,海螺熟料产能利用率约88%;华润水泥、熟料产能利用率分别为96.3%和111.5%;但中国建材的产能利用率仅在50%左右。

资料来源:水泥人网,华盛证券

那么为什么中国建材产能利用率这么低?我们可以从两个角度去看待这一问题:一方面,因为去产能这件事并不是雨露均占,而是重点削减落后产能,所以落后产能占比相对较大的中国建材会受到更多约束。另一方面,中国建材作为行业老大,在去产能上需要身先士卒,其限制产能的行为实际是整个水泥价格的基础。不管怎么说,实际情况就是——在本轮水泥供给侧改革中,老二比老大过的更舒服。

未来的重点则是看它是否有机会提升其产能利用率,个人对此保持谨慎态度。不过回到前面的问题,中国建材是否仍是水泥行业的高弹性标的首选?综合目前的财务杠杆和经营杠杆来看,它仍然弹性最高,只不过没有和华润拉开太大差距,但是增速上会大大胜于海螺。

三、为什么中国建材的盈利能力落后于行业水平?

先来看毛利率和营业利润率两个指标:

资料来源:财报,华盛证券

1、毛利率:

中国建材2018H1的毛利率为29.94%,较2017年27.62%略微上升2.32个百分点,

但是与行业中位值的差距显著扩大(-0.15%→-6.77%)。

为什么中国建材毛利率低于行业?除了刚刚提到的产能利用率问题,还有就是不同地区提价差异的因素。

可以看到,上半年不同地区的水泥价格和供求关系其实差距不小。虽然说本轮水泥行情的核心是看供给端,但由于华东华南更强的经济韧性,需求的旺盛使得华龙华南的区域水泥龙头有更好的业绩表现。

2018年上半年各区域水泥价格指数;资料来源:中国水泥网,华盛证券

2018年上半年六大区域水泥产量及增速情况;资料来源:中国水泥网,华盛证券

2、营业利润率:

中国建材2018H1的营业利润率为14.78%,较2017年12.17%略微上升2.61个百分点,但是与行业中位值的差距显著扩大(-4.65%→-14.14%),这里面重点在于2018H1管理费用94.9亿元,同比增长38.1%,高于营收同比增速,并占到整个营收的10%。早先市场的看法普遍认为随着中国建材和中材股份的合并,管理费用理应有所下降,现在看来这一整合进程还需时间发酵。

如果要去进一步分析管理费用上升的原因——个人认为中国建材在整合行业过程中,虽说规模上成了中国水泥龙头,但是这些收购的子公司、联营公司管理水平较低、人员臃肿,而中国建材出于就业、社会责任等很多因素的考虑就不能有大刀阔斧的动作。(不过业绩会上管理层也重点强调了将会把公司数量减少50-60,并在未来2 - 3年内将劳动效率提高50-60%的目标,谨慎乐观吧)

以上,无论从较低的产能利用率还是走高的管理费用,大概都指向一点,那就是中国建材作为国企、作为行业老大,它的目标和普通投资者的目标或许存在一定分野,这也是投资者需要正视的事情。

四、总结

综合看下来,这份财报令投资者不满意的点是在:内生性减杠杆成效不明显、资本支出略超预期、被压制的经营杠杆以及管理费用的不降反升。但是乐观看的话,3323的投资逻辑并未伤筋动骨:去杠杆正在路上、依旧拥有最高的弹性、估值上并未反映太多乐观预期。还有最重要的一点是,水泥价格似乎已经牢牢把握在这些水泥巨头的手上了。

本文由【华盛通app-新浪集团旗下港美股服务平台】特约提供

影像式测量仪

测量光学仪器

影像测量仪器

影象测量仪