版权声明:本文内容由互联网用户自发贡献,该文观点仅代表作者本人。本站仅提供信息存储空间服务,不拥有所有权,不承担相关法律责任。如发现本站有涉嫌抄袭侵权/违法违规的内容, 请发送邮件至举报,一经查实,本站将立刻删除。
【推荐】中国广电也“爆雷”!中国广电云南网络有限公司票据持续违约。-国家广电公司
0
根据上海票据交易所官网披露的持续逾期名单(截至2023年5月31日),中国广电云南网络有限公司票据发生违约,累计违约金额1.1863亿元,仍有4446万元逾期没有承兑。
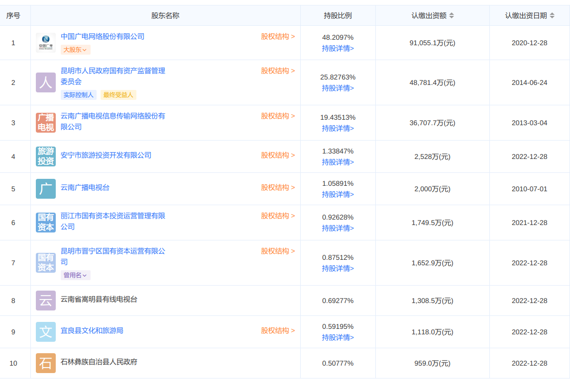
中国广电云南网络有限公司于2020年09月25日成立,经营范围包括有线广播电视传输服务;有线广播电视网络维护、运行、检测、安全管理服务;广播电视节目制作;互联网信息服务;经营电信业务。(市场主体依法自主选择经营项目,开展经营活动;经营电信业务、互联网信息服务、广播电视节目制作以及依法须经批准的项目,经相关部门批准后依批准的内容开展经营活动;不得从事国家和本市产业政策禁止和限制类项目的经营活动。)中国广电和昆明市国资委分别持股48.21%、25.83%。
天眼查信息显示,2022年上海市徐汇区人民法院判决中国广电云南网络有限公司支付浦银金融租赁股份有限公司未付租金1.01亿元及逾期利息。
前不久,国家产权局刚刚授予中国广电云南网络有限公司“云南广电大数据中心”2022年度全国版权示范园区(基地)。
近年来,昆明债务问题引发市场关注,昆明轨道交通集团票据也发生违约。